近永旺、近高教园区!就在刚刚,南通开发区R25024地块成功拍出江苏炜赋集团天鹏置业有限公司5.533亿成功拿地成交楼面价约4701元/m²!今天上午,南通开发区新开街道R25024地块成功落锤,江苏炜赋集团天鹏置业有限公司5.533亿元成功拿地,起拍楼面价约4701元/㎡。
地块位于瑞兴路北、东方大道西,出让面积73611.06㎡,容积率1.01-1.6,限高60米。
根据规划条件显示,地块建筑层次为3层及以上,其中临东方大道住宅建筑为高层,须配套建设公厕、邮政服务用房、治安联防站、物业管理用房等非营业性配套用房。
另外根据规定,R25024地块于2027年9月2日前动工建设,2030年9月2日前竣工。
地块位于开发区核芯位置,周边配套齐全——南通地铁1号线、通盛大道、东方大道高架、沈海高速等主干道云集,交通出行非常便利。
此外,地块北侧紧邻南通卫生健康职业学院,西侧一路之隔为南通师范高等专科学校实验小学、天星湖中学,教育资源环伺。
永旺梦乐城、世茂广场等商业也距离不远,生活氛围浓厚。
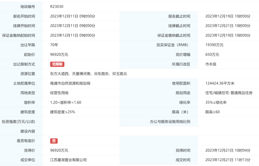
土拍方面,近两年来,地块周边2宗涉宅地块均由星湖置业拿下:▌2023年12月16日,位于东方大道西、振兴路南、龙腾路东、天星横河北的R23024地块,由江苏星湖置业有限公司斩获,成交楼面价5023.6元/㎡▌2023年12月21日,位于东方大道西、天星横河南、谷东路东、仰玉路北的R23030地块,由江苏星湖置业有限公司斩获,成交楼面价为4868元/㎡。
在售楼盘方面,开发区目前有星湖玥、远创宸樾、炜赋龙腾华府等楼盘在售,润茂居、炜赋CR22005地块即将入市——①炜赋龙腾华府,社区实景所见即所得。
项目是开发区内率先使用保温一体板的楼盘,并搭配大面积LOW-E玻璃,整体景观视野开阔,绿化种类丰富。
②10月18日,滨湖四代宅项目——星湖玥首开劲销1.2亿元,足见项目的出彩实力。
作为南通首个高品质住宅试点、首批四代宅落地项目,星湖玥自出场便自带高光。
南通首创双露台设计,实现50%绿植覆盖率;露台层高达6.2-7.2米,展现突破性层高优势;通过空中花园、设备平台等创新设计,实现超110%空间使用率……为城市高品质人居树立了全新标杆。
③竹行板块炜赋CR22005项目即将启动,将打造品质住宅、地标级写字楼等产品,建成后将极大地提升竹行板块的城建面貌。
④润茂居一路之隔就是永旺梦乐城、星湖1001、盒马超市等热门商业,出门就是风光怡人的能达生态通廊。
同时地块距离南通地铁1号线也较近,堪称出则繁华,入则幽静。
项目为纯洋房+联排别墅低密项目,包含1栋5层洋房、8栋6层洋房和14栋联排别墅,总户数仅142户,容积率1.198。
经历40多年的发展,南通开发区吸引人的不光是重大项目的承载地,这里更是一个市民生活、消费、休闲的欢乐地。
开发区正以加快建设“通城活力新中心”为主线,坚持生产、生活、生态、科创空间一体布局,打造国际化、现代化南翼新城,苏通二通道、新时代未来产业园等多个重点项目蓄势待发。
⭕新时代未来产业园去年年底,在南通开发区高质量发展大会上,备受关注的新时代未来产业园产业规划正式对外发布。
新时代未来产业园规划产业用地约8000亩,规划总建筑规模约937万平方米,综合容积率超1.6。
产业园规划“三园”,居其一的未来产业专属园区总面积约5000亩,主要引入未来空天、未来通信、未来能源和未来深远海装备“3+1”未来产业,旨在打造具有较强竞争力的未来产业集聚区。
目前,这块近10平方公里的产业园内基础设施建设如火如荼,新能源商用车等领域优质项目正在紧锣密鼓推进。
这样集中连片的产业区块在长三角地区堪称难得一见,成为开发区冲刺“千亿级”的强大底气和崭新空间。
⭕滨江湾2022年10月,南通市政府办公室印发《关于支持南通经济技术开发区提升城市功能加快通城活力新中心建设的工作意见》的通知,提出南通经济技术开发区将以能达核心区为主阵地,适时启动滨江湾规划建设,将高起点规划建设,打造展示南通形象的最美窗口、产城融合的最新坐标。
规划图根据规划,滨江湾规划范围南至长江及老洪港湿地,北至源兴路,西至裤子港河,东至新开南路,规划范围总面积约16平方公里。
⭕苏通第二过江通道苏通第二过江通道工程经南通苏锡通科技产业园区、南通经济技术开发区、崇川区和苏州市张家港市、常熟市。
工程位于沪苏通长江公铁大桥至苏通大桥之间,约40公里范围内,距离沪苏通长江公铁大桥约20公里、苏通大桥约20公里。
今年6月,南通市政府官网发布了《市政府办公室关于印发南通市城市更新三年行动方案(2025—2027年)的通知》,南通市民期待多年的通富南路快速化改造项目也将推进建设。
随着苏通二通道及滨江湾的规划建设,南通开发区也将迎来新的发展黄金期。
你对于南通开发区的发展有哪些期待?欢迎评论区留言讨论。
- THE END -









